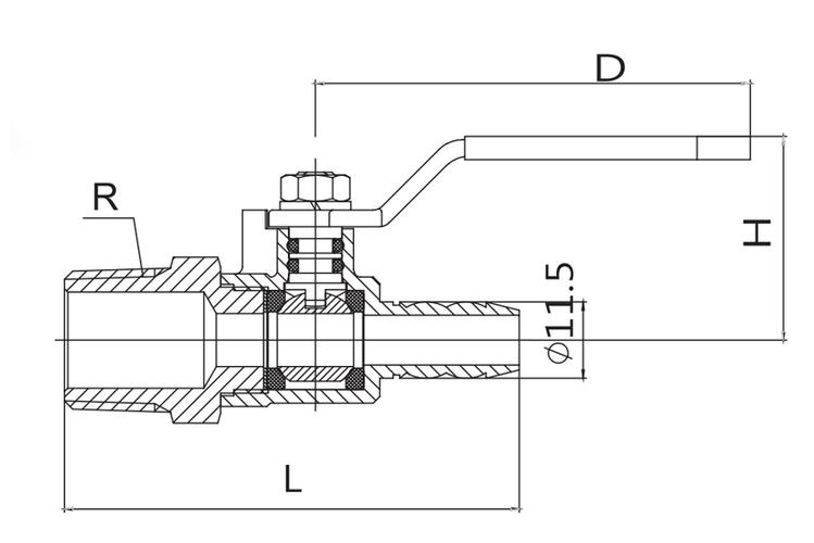
手動球閥Q21F-16P DN25的具體規格如下:
-
公稱通徑:DN25
-
適用溫度:常溫
-
適用介質:水、氣、油等
-
工作壓力:1.6~6.4MPa
-
閥體材質:不銹鋼304

手動球閥Q21F-16P DN25具有以下特點和應用:
-
結構特點:球閥在旋轉90度時,進出口處全部呈現球面,從而關閉或開啟閥門,基本沒有流阻力。
-
安裝方向:手動球閥應安裝在管道的水平方向或垂直方向,安裝點附近的管道不可有低垂或者承受外力的現象。
-
連接方式:手動球閥可以通過法蘭連接,安裝時需用規定的扭矩交叉鎖緊法蘭連接螺栓。
此外,手動球閥Q21F-16P適用于多種場景,如食品行業等。

詳細說明: 手動球閥Q21F-16P DN25的設計和工作原理是基于球體的旋轉來實現閥門的開啟和關閉。當球閥旋轉90度時,球體的中心孔對準閥體的通道,從而使流體通過,達到開啟的目的;當球閥回轉90度時,球體堵住閥體的通道,從而達到關閉的目的。這種設計使得閥門在開啟后,閥球藏在閥腔內,介質流通不會直接沖蝕閥球,避免了閥球的損壞。 安裝和使用注意事項: 在安裝前,需要取掉法蘭端兩邊的保護蓋,并在閥完全打開的狀態下進行沖洗清潔。 安裝時,請勿用閥的執行機構部分作為起重的吊裝點,以避免損壞執行機構及附件。 安裝點附近的管道不應有低垂或者承受外力的現象,可以使用管道支架或支撐物來消除管線的偏離。 與管道連接后,請用規定的扭矩交叉鎖緊法蘭連接螺栓。
手動球閥Q21F-16P DN25具體規格、技術指標及售后服務 手動球閥Q21F-16P DN25是一種常用的閥門產品,廣泛應用于各種工業領域。該球閥具有以下具體規格和技術指標: 首先,球閥的型號為Q21F-16P,適用口徑為DN25。這意味著球閥的最大通徑為25毫米,可以滿足一定范圍內的流體控制需求。 其次,球閥采用手動操作方式,即通過手動旋轉閥桿來控制流體的通斷。這種設計簡單實用,操作方便,不需要額外的電力或氣動設備。 此外,該球閥的閥體材料為不銹鋼,保證了閥門的耐腐蝕性和長壽命。閥桿材料也采用了不銹鋼,具備較高的強度和耐磨性,保證了閥門的可靠性和穩定性。 該球閥還具備良好的密封性能。閥座采用PTFE等材料制成,具有良好的耐腐蝕性和耐溫性能,確保了閥門在高壓和高溫環境下的可靠密封。
對于售后服務,該球閥廠家提供全面的技術支持和售后保障。在球閥購買后,廠家將提供詳細的產品使用說明書和安裝指導,以幫助用戶正確安裝和使用閥門。 此外,如果用戶在使用過程中遇到任何問題,可以隨時與廠家聯系,廠家將及時提供解決方案和技術支持。 總之,手動球閥Q21F-16P DN25具備了適用范圍廣泛、操作簡便、耐腐蝕、可靠密封等優點。廠家提供的全面售后服務也保證了用戶在使用過程中的滿意度。因此,如果您在工業應用中需要控制流體流動,手動球閥Q21F-16P DN25將是一個理想的選擇。